ПЕРЕКЛЮЧАТЕЛЬ ДВУХПОЛЮСНОЙ ТИПА ПТ17-1
Предназначен для использования в радиоэлектронной аппаратуре, а также различных бытовых приборах для коммутации цепей постоянного и переменного тока. Тумблеры изготавливаются для умеренного и холодного климата, являются изделиями ручного управления и предназначены для объемного монтажа.

Разметка для крепления

Технические характеристики
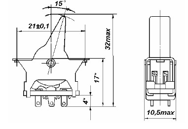
Габаритные размеры

| Род тока | Вид нагрузки | Электрические режимы коммутации | ||
|---|---|---|---|---|
| Imin – Imax, А | Umin – Umax, В | частота, Гц | ||
| Переменный | Активная | 0,1 – 1 | 3 – 250 | 50 |
| Постоянный | Активная | 0,01 – 0,1 | 3 – 36 | -- |
| Переменный | Индуктивная | 0,1 – 1 | 3 – 250 | 50 |